जेव्हा तुम्हाला खर्च प्रभावी स्प्लिट पिन मिळेल तेव्हा ते गुणवत्ता प्रमाणपत्रासह येऊ शकते. हे मुळात एक पेपरवर्क आहे जे म्हणते की स्प्लिट पिन तपासली गेली आहे आणि विशिष्ट मानकांची पूर्तता केली आहे.
सर्टिफिकेटमध्ये स्प्लिट पिन - तो कोणी बनवला, तो कशापासून बनवला, त्याचा आकार आणि तो कोणत्या बॅचमधून आला याविषयी तपशील सूचीबद्ध करतो. हे दर्शविते की स्प्लिट पिनची ताकद, आकार अचूकता आणि तो तुटल्याशिवाय योग्यरित्या वाकतो की नाही यासारख्या गोष्टींसाठी चाचणी केली गेली. ते हे देखील तपासतात की झिंक प्लेटिंगसारखे पृष्ठभाग उपचार योग्यरित्या केले जातात.
प्रमाणपत्रावर चाचण्या करणाऱ्या निरीक्षकांनी स्वाक्षरी आणि शिक्का मारला आहे. ही कागदपत्रे अशा व्यवसायांसाठी उपयुक्त आहेत ज्यांना त्यांचे स्प्लिट पिन विशिष्ट आवश्यकता पूर्ण करते हे सिद्ध करणे आवश्यक आहे, विशेषत: ऑटोमोटिव्ह किंवा उत्पादनासारख्या उद्योगांमध्ये जेथे गुणवत्ता ट्रॅकिंग महत्वाचे आहे. हे मुळात तुमचे आश्वासन आहे की स्प्लिट पिन तुम्ही प्राप्त करण्यापूर्वी ती योग्यरित्या तपासली गेली आहे.
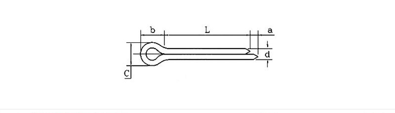
| d | 0.6 | 0.8 | 1 | 1.2 | 1.5 | 2 | 2.5 | 3.2 | 4 | 5 | 6.3 | 8 | 10 | 13 | 16 | 20 | |
| d | कमाल | 0.5 | 0.7 | 0.9 | 1 | 1.4 | 1.8 | 2.3 | 2.9 | 3.7 | 4.6 | 5.9 | 7.5 | 9.5 | 12.4 | 15.4 | 19.3 |
| मि | 0.4 | 0.6 | 0.8 | 0.9 | 1.3 | 1.7 | 2.1 | 2.7 | 3.5 | 4.4 | 5.7 | 7.3 | 9.3 | 12.1 | 15.1 | 19 | |
| a | कमाल | 1.6 | 1.6 | 1.6 | 2.5 | 2.5 | 2.5 | 2.5 | 3.2 | 4 | 4 | 4 | 4 | 6.3 | 6.3 | 6.3 | 6.3 |
| मि | 0.8 | 0.8 | 0.8 | 1.25 | 1.25 | 1.25 | 1.25 | 1.6 | 2 | 2 | 2 | 2 | 3.15 | 3.15 | 3.15 | 3.15 | |
| b≈ | 2 | 2.4 | 3 | 3 | 3.2 | 4 | 5 | 6.4 | 8 | 10 | 12.6 | 16 | 20 | 26 | 32 | 40 | |
| C | कमाल | 1 | 1.4 | 1.8 | 2 | 2.8 | 3.6 | 4.6 | 5.8 | 7.4 | 9.2 | 11.8 | 15 | 19 | 24.8 | 30.8 | 38.5 |
| मि | 0.9 | 1.2 | 1.6 | 1.7 | 2.4 | 3.2 | 4 | 5.1 | 6.5 | 8 | 10.3 | 13.1 | 16.6 | 21.7 | 27 | 33.8 | |
एक किफायतशीर स्प्लिट पिन मुख्यतः मशीन, कार आणि उपकरणांमध्ये भाग सैल होण्यापासून रोखण्यासाठी वापरला जातो. बोल्ट, शाफ्ट किंवा इतर पिन कंपनामुळे बाहेर पडण्यापासून थांबवणे हे त्याचे काम आहे. उदाहरणार्थ, कारमध्ये, तुम्हाला बऱ्याचदा व्हील हबमध्ये स्प्लिट पिन किंवा गोष्टी सुरक्षित ठेवण्यासाठी सस्पेंशन सापडेल.
फॅक्टरी मशिन्समध्ये, प्रत्येक गोष्ट संरेखित ठेवण्यासाठी बिजागर किंवा हलत्या सांध्यांमध्ये स्प्लिट पिन वापरला जाऊ शकतो. बोटींवर, ते क्लीट्ससारखे हार्डवेअर ठेवू शकते. दैनंदिन वापरासाठी, तुम्ही लॉनमॉवर ब्लेड किंवा सायकल पेडल सुरक्षित करण्यासाठी स्प्लिट पिन वापरू शकता. तुम्ही फक्त स्प्लिट पिन एका छिद्रातून ढकलता आणि दोन शूज अलगद वाकवा – सुरक्षितपणे धरून ठेवलेले कनेक्शन बनवण्याचा हा एक सोपा मार्ग आहे परंतु तरीही आवश्यकतेनुसार काढला जाऊ शकतो.
प्रश्न: तुम्ही तुमच्या खर्च प्रभावी स्प्लिट पिनसाठी प्रमाणपत्र देऊ शकता का?
उत्तर: होय, आम्ही तुम्हाला पिनसाठी साहित्य प्रमाणपत्र देऊ शकतो. हे दाखवते की आम्ही ISO 1234 सारख्या मानकांची पूर्तता करतो. हे सुनिश्चित करते की तुम्हाला स्प्लिट पिन मिळतात त्या यांत्रिक आणि मितीय वैशिष्ट्यांसह आम्ही सहमत आहोत.
